在电气化与智能化浪潮中,高边开关作为连接数字控制与物理执行器的关键,其性能至关重要。为满足高端市场对性能、可靠性与智能化的极致需求,思瑞浦正式发布了新一代应用在车身电控的高端双通道智能高边开关TPW4020DQ。
国产首发的大功率单die高边开关方案
TPW4020DQ的问世,标志着思瑞浦在智能功率器件领域实现了多项关键突破。它并非一个简单的功率开关,而是一个集“驱动、感知、保护”于一体的智能功率管理与安全控制单元。产品的核心优势源于创新的VDMOS + BCD集成工艺平台与更全面的保护功能。国产高边芯片的传统方案中控制芯片和功率MOS芯片分开制造,在框架上通过打线互联。该方案的不足在于打线引入额外的寄生参数,在高频和大电流下对性能产生影响,可靠性不如单芯片集成方案。
TPW4020DQ是国产第一颗大功率单die高边开关,将单通道导通阻抗降至20mΩ(常温25°C)的行业领先水平,极大降低了导通损耗和发热;同时优化了芯片布局和散热,为集成高精度监控电路释放了空间。TPW4020DQ保护功能的全面性与可靠性上对标国际厂商, 保护功能包括:过流/短路限流,以支持更严苛的大电容上电场景;绝对过热自保护及热梯度自保护;智能功率锁止;电源/地反接功率管自保护;电源/输出反接功率管自保护;丢地/丢电源自保护,过压/欠压保护等。
TPW4020DQ产品特性:
支持车载12V供电应用
Typical导通阻抗20mΩ
每通道5A持续过流能力
输出2A时,电流检测精度达到±4%
具有Reverse On和Inverse On保护功能
Lose of GND保护功能
工作温度:-40 ℃ 至 125 ℃
封装:EQSOP14,与行业主流方案可直接Pin-to-Pin替换

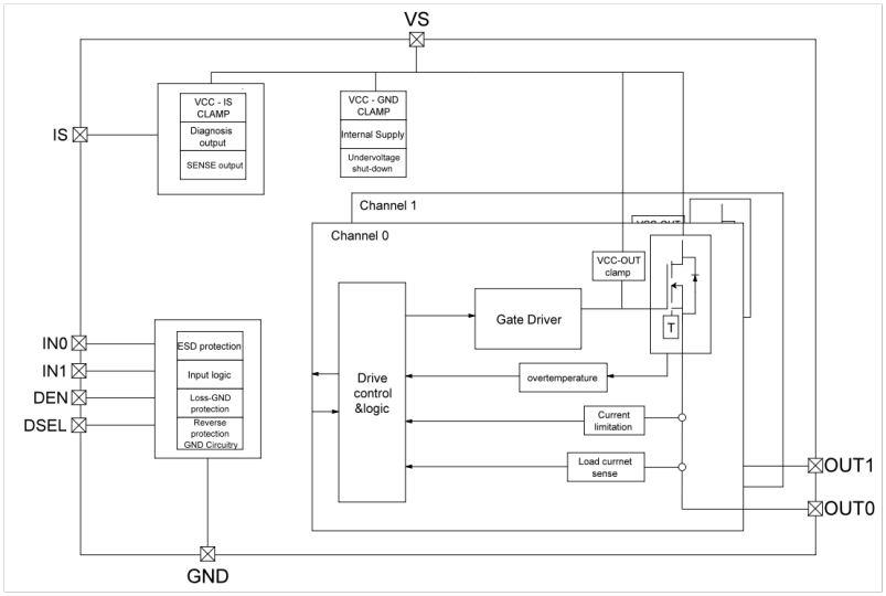
图1、TPW4020DQ系统内部框图
超宽电源工作范围,适配全场景车载电源
图1为TPW4020DQ系统内部框图,思瑞浦凭借高边开关核心技术专利全覆盖,TPW4020DQ实现了行业领先的性能参数:
工作电压范围宽达4-28V,集成了高精度的实时负载电流监控功能(在2A以上负载电流时,精度达到±4%)和多种电压钳位保护机制;
TPW4020DQ单通道可持续输出10A负载电流(常温25°C),瞬态输出电流能力高达50A,足以应对数倍于典型应用场景的浪涌电流如电机启动场景。
独特的保护机制实现大容性负载上电
将智能的Latch(锁存)保护机制和独特的Fault Retry机制有效结合,TPW4020DQ既能在检测到持续的过流或过温严重故障时,彻底关断通道并锁定,并需外部复位才能恢复开启,有效防止故障扩大;又能支持大电容负载的上电,避免上电过程被Latch保护机制终止。
高标准可靠性测试,从容应对车载极端电压冲击
在测试验证方面,TPW4020DQ还通过了ISO 7637-2、ISO16750-2标准车规波形测试、AEC-Q100-012重复短路可靠性测试和感性负载退磁Emax极限测试,其中AEC-Q100-012对高边开关短路可靠性有着极高的要求,TPW4020DQ在输出负载0uH/5uH电感的循环短路测试(>1000000次)后,仍能保证芯片的正常功能。此外,TPW4020DQ实现了Reverse On和Inverse On保护功能,前者可以在电源反接的情况下自动打开功率开关,后者可以在正常工作OUT反灌电流时仍保证功率开关不会被误关断,从而实现对功率开关的保护。
赋能客户设计
在中高端市场上,高边开关的需求繁杂多样,但如何找准需求,精准提供符合客户需求的产品,赢得市场认可,是芯片厂商在产品开发过程中的最大难题之一。
思瑞浦采用“性能对标为基础,服务与成本为突破口”的策略,深入各行业挖掘核心痛点,开发贴合客户需求的高边开关产品。在性能上,思瑞浦在导通阻抗、单die设计能力、稳定性等关键指标上都已经实现国内领先水平,导通阻抗低至20mΩ,同时单die设计方案相较于合封方案寄生参数更小、集成度更高,可满足众多类型场景需求,这是构建竞争优势的基础。
TPW4020DQ立足于工程师的实际设计需求,从四个方面构建了全方位的客户价值。
成本优化与效率提升
20mΩ的超低导通阻抗直接降低了功耗与散热成本,并采用EQSOP-14封装,与国际主流竞品引脚兼容,便于客户快速替换与升级。内部集成地网络节省了外部元件,降低了BOM成本与PCB占用,并进一步实现了电源反接耐受——即使在现场接线接反的意外情况下,芯片也能避免立即损坏,为系统提供了宝贵的容错能力。
全场景的负载监控与线束可靠保护
实时高精度的电流监控、丰富的诊断与保护机制。以车载系统为例,其电动助力转向电机、制动电磁阀、座椅调节电机、LED灯光系统等中依赖高精度电流反馈实现精准控制。高精度电流监测可以实时向域控MCU反馈负载的工作电流,MCU通过调整PWM占空比,精准控制电机扭矩、电磁阀开度、LED亮度等,实现更细腻的负载控制。同时,也能通过电流数据判断负载是否正常工作(比如电磁阀是否正常吸合、电机是否堵转),及时调整控制策略。
极端工作环境下的高系统鲁棒性
车载环境存在强电磁干扰、电池电压大幅波动(比如启动时电压骤降、抛负载时电压骤升)、宽温域变化等恶劣条件。VS-GND和VS-IS电压钳位能够使芯片适应电压骤变,避免引起系统故障。VDS电压钳位和限流机制、绝对温度和温度梯度保护机制能够有效避免长距离布线在断电/短路时因走线电感续流或过流而引起系统故障。
支持全生命周期的故障诊断与溯源
满足ISO-26262功能安全的强制合规要求,在内部故障诊断的基础上(过流诊断、绝对温度与温度梯度诊断),凭借高精度的电流监测有效区分正常波动与真实故障,避免误触发、漏触发,提升系统在复杂环境下的稳定性。
关键应用场景,攻坚高端严苛应用
图2、TPW4020DQ典型应用框图
TPW4020DQ将过流/短路限流、绝对与梯度过热保护、输出开路检测、丢地/丢电源保护、过压/欠压保护等完备的诊断与保护功能集成于一体。在实际应用中,扮演着三重角色——大功率负载驱动器、系统状态监测器的和故障风险熔断器。
TPW4020DQ是对可靠性、安全性有极致要求场景的理想选择,其应用上可以覆盖以下几个方面:
热管理与底盘控制
用于直接驱动电子水泵、电子油泵、主动悬架电磁阀等。TPW4020DQ峰值70A限流能力应对启动冲击,Latch保护在故障时快速隔离,高精度电流监控用于状态监测与性维护,保障热管理与行驶安全。
汽车PDU与智能配电
在区域控制器中驱动PTC加热器、鼓风机等TPW4020DQ电源反接保护特性,可避免装配错误导致的模块损坏,提升系统容错性。
工业伺服驱动与机器人关节控制
用于驱动制动器、抱闸线圈等。TPW4020DQ出色的抗反电动势能力和反复短路承受力,能确保急停、保持等动作的绝对可靠,保护设备与人员安全。
高端电源与能源基础设施
在UPS、服务器电源中作为智能固态开关。超低损耗提升效率,精准电流监控用于负载管理与故障定位,强大保护实现故障快速隔离。
在复杂的工作环境中,一些故障更是对高边开关本身提出更加严苛的要求。图3以带4.7uH电感hard short短路(AEC-Q100-012)故障为例,触发限流保护过程开关电流峰值高达73A,随后触发温度梯度保护机制(关闭功率开关),电感续流使功率开关VDS电压达到钳位电压(接近40V),钳位过程最大电流高打50A,极高的瞬间功率给高边开关的可靠性带来严峻的挑战。
图3中TPW4020DQ在短路故障发生后开始计时,并通过温度梯度保护机制不断Retry,计时达到TRetry后将开关彻底关闭从而保护相关应用。
图3、输出带4.7uH hard short短路测试
TPW4020DQ特别的故障Retry和Latch保护机制,实现智能功率锁止,使其能够支持更大电容负载的应用,图4所示为TPW4020DQ通过内部限流与温度保护控制的多次Retry过程,实现了输出带4.7mF电容的正常上电。而同样条件下,国外竞品带4.7mF电容的上电波形如图5所示。
图4、TPW4020DQ输出带4.7mF电容上电
图5、友商A输出带4.7mF电容上电
TPW4020DQ的推出,是思瑞浦在高端智能高边开关领域的关键落子,精准响应了市场对高可靠性、高集成度国产功率器件的迫切需求,展现了思瑞浦以技术创新驱动,深耕汽车与工业核心市场的决心。
未来,思瑞浦将继续围绕系统级解决方案拓展产品组合,并与生态伙伴深化合作,致力于成为全球智能功率管理与驱动领域的领导品牌。同时,思瑞浦也持续为客户提供从定制化方案设计、快速响应的技术咨询到全生命周期供应链保障的端到端支持,加速客户产品上市,共赢智能化未来!
目前思瑞浦已推出多款车规级高边驱动芯片:
TPS42Q20xQ:40V、4通道、2A/CH集成故障检测报错功能的高边开关;
TPS42S40xQ:40V、单通道、4A高精度电流检测的高边开关;
TPW20400xQ:15V、4/2通道、0.6A/CH、支持I²C通信、符合功能安全标准的高边开关。